提供專業控制閥解決方案! 銷售熱線:021-5186 3046
上海川滬閥門有限公司
ShangHai Chuanhu Valve CO.,LTD
我們做的不僅是產品還是解決方案
川滬閥門品牌:電動球閥、電動蝶閥、氣動球閥、氣動蝶閥、電動調節閥、氣動調節閥
自力式調節閥、快速切斷閥、低溫閥門、耐腐蝕閥門、衛生級閥門、截止閥、閘閥
電動執行器、氣動執行器
新聞資訊/NEWS
氨用閥門特點、原理、使用以及具體產品詳解
產品概述
氨氣屬于易燃有毒氣體,一般貯存在專用的高壓儲罐中。使用時通過氨用截止閥使氨氣的壓力降至實驗所需范圍,再經過其它控制閥門細調,使氣體輸入使用系統。因為常用的減壓閥為氨用截止閥,所以簡稱氨用閥。
氨用閥基本采用鑄鋼和不銹鋼,選擇氨氣閥門要求比較高,閥體不能有砂眼,閥桿不能出現泄漏,密封性能良好,液氨閥門好選閥體精鑄或者鍛造的。
結構特點
1結構氨用截止閥的高壓腔與鋼瓶連接,低壓腔為氣體出口,并通往使用系統。高壓表的示值為鋼瓶內貯存氣體的壓力,低壓表的出口壓力可由調節螺桿控制。
氨用截止閥的啟閉件是塞形的閥瓣,密封面呈平面或錐面,閥瓣沿流體的中心線作直線運動。
閥桿的運動形式,有倒密封暗桿式(閥桿升降,手輪不升降)。氨用截止閥采用暗桿倒密封,彈性成型聚四氟乙烯為填料,填料密封性能隨介質壓力上升而增強,保證閥桿的零泄漏,提供無需維護的條件。也有明桿升降旋轉桿式(手輪與閥桿一起旋轉升降,螺母設在閥體上)。
截止閥只適用于全開和全關,不允許作調節和節流。
2特點(1)整體結構比閘閥簡單,制造與維修、更換都較方便。
(2)密封面不易磨損及擦傷,密封性好,啟閉時閥瓣與閥體密封面之間無相對滑動,因而磨損與擦傷均不嚴重,密封性能好,使用壽命長。
(3)啟閉時,閥瓣行程小,因而截止閥高度比閘閥小,但結構長度比閘閥長。
(4)流體阻力大,開啟和關閉時所需力較大。
(5)不適用于帶顆粒、粘度較大、易結焦的介質。
(6)調節性能較差。截止閥的種類按閥桿螺紋的位置分有外螺紋式、內螺紋式。按介質的流向分,有直通式、直流式和角式。截止閥按密封形式分,有填料密封截止閥和波紋管密封截止閥。
工作原理
氨用截止閥屬于強制密封式閥門,所以在閥門關閉時,必須向閥瓣施加壓力,以強制密封面不泄漏。
當介質由閥瓣下方進入閥內時,操作力所需要克服的阻力,是閥桿和填料的磨擦力與由介質的壓力所產生的推力。關閥門的力比開閥門的力大,所以閥桿的直徑要大,否則會發生閥桿頂彎的故障。
近年來,從自密封氨氣截止閥出現后,截止閥的介質流向就改由閥瓣上方進入閥腔,這時在介質壓力作用下,關閥門的力小,而開閥門的力大,閥桿的直徑可以相應地減少。同時,在介質作用下,這種形式的閥門也較嚴密。
液氨截止閥的流向,一律采用自上而下。截止閥開啟時,閥瓣的開啟高度,為公稱直徑的25%~30%時,流量已達到大,表示閥門已達全開位置。所以截止閥的全開位置,應由閥瓣的行程來決定。
安裝使用與維護
1安裝(1)手輪、手柄操作的截止閥可安裝在管道的任何位置上。
(2)手輪、手柄及偉動機構,不允許作起吊用。
(3)介質的流向應與閥體所示箭頭方向一致。
2使用方法使用時先打開鋼瓶總開關,然后順時針轉動低壓表壓力調節螺桿,使其壓縮主彈簧并傳動薄膜、彈簧墊塊和頂桿而將活門打開。這樣進口的高壓氣體由高壓室經節流減壓后進入低壓室,并經出口通往工作系統。轉動調節螺桿,改變活門開啟的高度,從而調節高壓氣體的通過量并達到所需的壓力值。
氨用截止閥都裝有安全閥。它是保護氨氣減壓閥并使之安全使用的裝置,也是氨氣減壓閥出現故障的信號裝置。如果由于活門墊、活門損壞或由于其它原因,導致出口壓力自行上升并超過一定許可值時,安全閥會自動打開排氣。
3維護1、安裝氨氣減壓閥時應確定其連接規格是否與使用系統的接頭相一致。氨用截止閥采用半球面連接,靠旋緊螺母使二者完全吻合。
因此,在使用時應保持兩個半球面的光潔,以確保良好的氣密效果。安裝前可用高壓氣體吹除灰塵。必要時也可用聚四氟乙烯等材料作墊圈。
2、氨用截止閥應嚴禁接觸油脂,以免發生火警事故。
3、停止工作時,應將減壓閥中余氣放凈,然后擰松調節螺桿以免彈性元件長久受壓變形。
4、氨用截止閥應避免撞擊振動,不可與腐蝕性物質相接觸。
介紹了以上基礎知識后,小7來說幾款具體的氨用閥產品

JIS型
型號:JY41F/B-25/40
規格:DN15~DN200
一、用途和性能規范
使用于城市燃氣,液氨,液化氣等管道,也使用于煉油廠,石油化工廠,火力發電廠的冷卻系統,作為控制介質截止的啟閉裝置。
二、操作原理和結構說明
1、手輪順時針方向轉時,閥桿向下移動,閥瓣下降使密封面密合,將通路切斷。逆轉時則開啟,閥桿提到高點上密封起作用。
2、本閥門增加了一個上密封,在閥門開啟狀態時與填料一起起到密封作用,并對填料有一定的保護作用,并可帶壓更換復合軟成形填料。
3、本閥門采用PTFE(F)或巴氏合金(B)制品作密封面,填料為復合軟成形填料(PTFE+丁晴橡膠+彈簧),上密封也為軟材質,密封性能較好。
三、特點說明
明桿/暗桿截止閥性能對比:
1、開關輕松,密封性能好。
2、閥桿填料自動密封:填料采用(PTFE+丁晴橡膠)復合軟成形填料,下增加彈簧自動補償,利用管道壓力產生自動密封,密封填料磨損彈簧自動補償。
3、密封填料損壞-帶壓更換填料。(手輪逆時針方向轉到頂點,上密封產生密封,拿下手輪,松開填料室,拿下填料室,更換復合軟成形填料(13號)(PTFE+丁晴橡膠+彈簧)。
4、閥桿耐磨攻能:填料室增加PTFE(14號),使閥桿不會和填料室摩擦,增強閥桿使用壽命。
5、開啟時將閥桿提到高點,令填料與上密封同時起密封作用,關閉時關閉力不要過大,以免破壞密封面。
四、密封材料特點說明

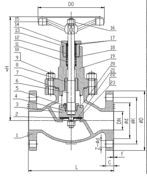
五、外形圖、剖面圖

六、性能規范

七、尺寸和連接尺寸PN1.6/2.5Mpa

八、零配件材料表


九、可能發生的故障及其解決方案


J41B
產品名稱:氨用截止閥
產品口徑:DN10-700
產品壓力:1.0-10.0Mpa
產品材質:鑄鋼、不銹鋼、合金鋼等
生產標準:國家標準GB、機械標準JB、化工標準HG、美標API、ANSI、德標DIN、日本JIS、JPI、英標BS生產。閥體材質:銅、鑄鐵、鑄鋼、碳鋼、WCB、WC6、WC9、20#、25#、鍛鋼、A105、F11、F22、不銹鋼、304、304L、316、316L、鉻鉬鋼、低溫鋼、鈦合金鋼等。
工作壓力:1.0Mpa-50.0Mpa
工作溫度:-196℃-650℃
連接方式:內螺紋、外螺紋、法蘭、焊接、對焊、承插焊、卡套、卡箍。驅動方式:手動、氣動、液動、電動。
J41B氨用截止閥結構特點及用途
1、中通法蘭為方形結構,閥桿采用間桿連接。
2、閥體密封面部位采用球凸狀,與閥腳以線吻合密封。
3、密封面采用巴氏合金,密封性能好,使用壽命長主要性能規范
適用介質:液、氣、氨、氮、氫
適用溫度:-10℃-150℃
試驗壓力

主要零件材料

主要尺寸表


除了截止閥,氨用閥門里也包括止回閥,小7也來簡單介紹3款產品

H42N
產品名稱:氨用立式止回閥
一、產品特點:該閥門閥瓣利用流體壓差和自身的重量實現升降,適用于大部分的罐內垂直管路上,自動阻止介質逆流,保護上游設備。

二、主要設計參數:
設計、制造:GB/T12235-89
法蘭連接:JB/T79-94、GB9113-2000
結構長度:GB12221-89
公稱通徑:DN32~DN200mm
公稱壓力:PN1.6、2.5、4.0MP。
三、主要性能參數:

四、主要零件材料:

五、氨氣止回閥主要外形尺寸:


H41N
產品名稱:氨用升降式止回閥
一、產品特點:該閥門閥瓣利用流體壓差和自身的重量實現升降,適用于大部分的罐內水平管路上,自動阻止介質逆流,保護上游設備。

二、主要設計參數:
設計、制造:GB/T12237-89
法蘭連接:JB/T79-94、GB9113-2000
結構長度:GB12221-89
公稱通徑:DN15~DN200mm
公稱壓力:PN1.6、2.5、4.0MP。
三、主要性能參數:

四、主要零件材料:

五、氨用止回閥主要外形尺寸:


H42B
產品名稱:氨用止回閥
產品口徑:DN32-200
產品壓力:1.6-4.0Mpa
產品材質:鑄鋼、不銹鋼等
生產標準:國家標準GB、機械標準JB、化工標準HG、美標API、ANSI、德標DIN、日本JIS、JPI、英標BS生產。
閥體材質:銅、鑄鐵、鑄鋼、碳鋼、WCB、WC6、WC9、20#、25#、鍛鋼、A105、F11、 F22、不銹鋼、304、304L、316、316L、鉻鉬鋼、低溫鋼、鈦合金鋼等。
工作壓力:1.0Mpa-50.0Mpa
工作溫度:-196℃-650℃
連接方式:內螺紋、外螺紋、法蘭、焊接、對焊、承插焊、卡套、卡箍
驅動方式:手動、氣動、液動、電動
氨用止回閥概述:
川滬生產的氨用止回閥是閥瓣利用流體壓差和自身的重量實現升降,適用于大部分的罐內水平管路上,自動阻止介質逆流,保護上游設備。適用于清凈介質,不宜用于含有固體顆粒和粘度較大的介質。
氨用止回閥主要零件材料:

氨用止回閥性能規范:

氨用止回閥主要尺寸:

上海川滬閥門專業生產電動調節閥、氣動調節閥、電動單座調節閥、氣動單座調節閥、電動套筒調節閥、氣動套筒調節閥等調節閥產品,廣泛適用于化工、環保、水處理、電力、煤礦等行業,請咨詢上海川滬閥門有限公司銷售部
上海川滬閥門有限公司是一家專業生產電動調節閥、氣動調節閥、電動球閥、氣動球閥、電動蝶閥、氣動蝶閥的廠家。歡迎來電咨詢:021-5186 3046
